Логотип АстронЭнерго

Опоры А14Б 557.000 серия 5.900-7 выпуск 3

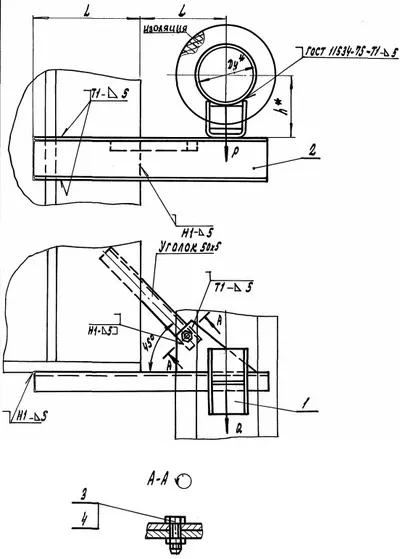
Опоры А14Б 557.000  серия 5.900-7 выпуск 3

Ниже представлены технические характеристики и параметры для серии Опоры А14Б 557.000 серия 5.900-7 выпуск 3 .

Опоры А14Б 557.000  серия 5.900-7 выпуск 3 подвижные корпусные приварные с креплением к металлической колонне Ду 150 - 250 мм.

Опоры А14Б 557.000 применяются для крепления к металлическим колоннам трубопроводов, транспортирующих воду и пар с температурой до +150°С, либо холодоноситель с температурой от -15°С до +15°С с максимальным давлением до 1,6 МПа (16 кгс/см2).
Стандартно подвижные двухрядные опоры А14Б 548.000 изготавливаются из марки стали Ст.3,20,09Г2С.
Стандартное покрытие — транспортировочный грунт ГФ-021.

1768454884820-425770301-opora_a14b_557_razmery_fill_400x559

Смотрите также