Логотип АстронЭнерго

Опоры А14Б 578.000 серия 5.900-7 выпуск 4

Опоры А14Б 578.000 серия 5.900-7 выпуск 4

Ниже представлены технические характеристики и параметры для серии Опоры А14Б 578.000 серия 5.900-7 выпуск 4 .

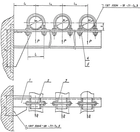
Опоры А14Б 578.000 серия 5.900-7 выпуск 4 подвижные хомутовые трехрядные с креплением к стенам, перекрытиям и к полу Ду 50 - 80 мм

Опорные конструкции по серии 5.900-7 выпуск 4 разработаны для установки на стены, перекрытия и полы. Крепление происходит с помощью заделки металлических кронштейнов в кирпичные стены. Трубопроводы крепятся к перекрытиям с помощью подвески или посредством приварки к закладным деталям, находящимся в стыках между плитами.

Опоры А14Б 578.000 подвижные трехрядные применяются для крепления к стенам, перекрытиям или и к полу трубопроводов, транспортирующих рабучую среду с температурой от 0 до +440 °C с максимальным давлением до 1,6 МПа (16 кгс/см2). Опоры подвижные А14Б 578.000 предназначены для компенсации сдвига горизонтальных и вертикальных нагрузок трубопровода. Изготовление опоры А14Б 578.000 производится путем выполнения гибки и сварки по ГОСТ 5714-80 электродами тип Э46.

Стандартно  опоры А14Б 578.000 изготавливаются из марки стали Ст.3,20,09Г2С.
Стандартное покрытие — транспортировочный грунт ГФ-021.

1769607819501-418115590-opora_a14b_578_fill_250x246                    1769607832815-853103237-opora_a14b_578_razmery_fill_450x422

Смотрите также