Опоры А14Б 582.000 серия 5.900-7 выпуск 4
Ниже представлены технические характеристики и параметры для серии Опоры А14Б 582.000 серия 5.900-7 выпуск 4 .
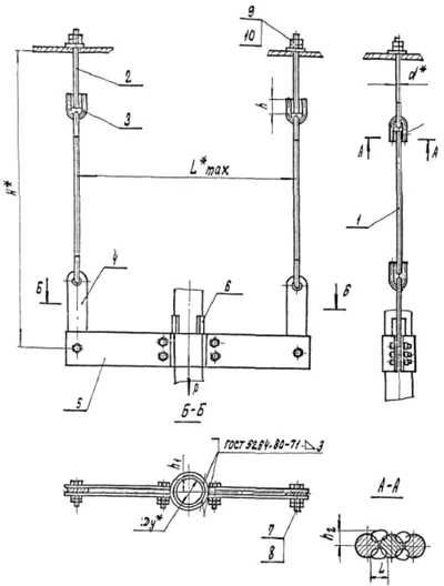
Опоры подвесные А14Б 582.000 серия 5.900-7 выпуск 4 с двумя тягами, регулируемыми гайками, для вертикальных трубопроводов Дн 57 - 273 мм
Подвесные опоры А14Б 582 предназначены для закрепления вертикальных трубопроводов диаметром от 57 мм до 273 мм. Данные подвески закрепляются на несущей конструкции и регулируются при помощи гаек, накручиваемых на верхние тяги.
Опоры подвесные А14Б 582.000 СБ изготавливаются в соответствии с чертежами серии 5.900-7 выпуск 4.
Стандартно опоры А14Б 582.000 изготавливаются из марок стали сталь 3, 20, 09Г2С.Стандартное покрытие – транспортировочный грунт ГФ-021.
![]()