Логотип АстронЭнерго

Опоры АПЭ 1388.0 серия 5.908-1

Опоры АПЭ 1388.0 серия 5.908-1

Ниже представлены технические характеристики и параметры для серии Опоры АПЭ 1388.0 серия 5.908-1 .

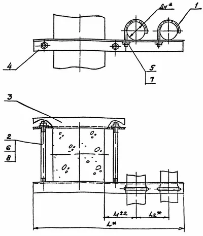
Опоры АПЭ 1388.0 серия 5.908-1 для крепления двух труб к железобетонной колонне Дн 18 - 89 мм

Серия 5.908-1 - это стандарт типовых узлов крепления трубопроводов автоматического пожаротушения, рассчитанные на одновременное действие вертикальных и горизонтальных нагрузок.

Опоры АПЭ 1388.0 СБ применяются для крепления к железобетонным колоннам двух трубопроводов установок автоматического пожаротушения (АУПТ).

Стандартно  опоры АПЭ серия 5.908-1 изготавливаются из марок стали сталь 3, 20, 09Г2С. Стандартное покрытие – транспортировочный грунт ГФ-021.

Опоры для крепления труб к железобетонным колоннам АПЭ 1388.0 СБ изготавливаются в соответствии с чертежами типовых конструкций серии 5.908-1.

1769866399095-961667388-opora_ape_1388.0_sb_fill_300x145                            1769866412812-61767337-opora_ape_1388.0_sb_razmery_fill_400x465

Смотрите также