Логотип АстронЭнерго

Опоры АПЭ 1378.0 серия 5.908-1

Опоры АПЭ 1378.0  серия 5.908-1

Ниже представлены технические характеристики и параметры для серии Опоры АПЭ 1378.0 серия 5.908-1 .

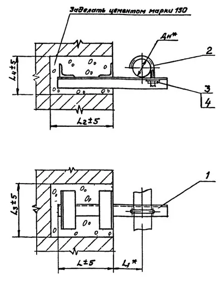
Опоры АПЭ 1378.0 серия 5.908-1 для крепления трубы к кирпичной стене Дн 50 - 219 мм

Серия 5.908-1 - это стандарт типовых узлов крепления трубопроводов автоматического пожаротушения, рассчитанные на одновременное действие вертикальных и горизонтальных нагрузок.

Опоры АПЭ 1378.0 СБ применяются для крепления к кирпичным стенам трубопроводов установок автоматического пожаротушения

Наружный диаметр прокладываемых трубопроводов Дн 50 – 219 мм

Стандартно  опоры АПЭ серия 5.908-1 изготавливаются из марок стали сталь 3, 20, 09Г2С. Стандартное покрытие – транспортировочный грунт ГФ-021.

Опоры для крепления труб к кирпичной стене АПЭ 1378.0 СБ изготавливаются в соответствии с чертежами типовых конструкций серии 5.908-1.

1769842834233-802691107-opora_ape_1378.0_sb_fill_250x180                                  1769842818020-884580104-opora_ape_1378.0_sb_razmery_fill_450x573

            

               

Обозначение Наружный диаметр трубопровода Дн, мм Теоретическая масса Расстояние от оси трубопровода до стены L1, мм Длина опоры, мм Глубина заделки опоры L, мм
АПЭ 1378.0 50…65 2.40 кг. 90 328 200 ±5
АПЭ 1378.0-01 70…89 2.80 кг. 125 376 200 ±5
АПЭ 1378.0-02 108…140 4.30 кг. 200 479 250 ±5
АПЭ 1378.0-03 152…159 6.70 кг. 280 618 250 ±5
АПЭ 1378.0-04 219 8.95 кг. 300 673 250 ±5

     

Смотрите также