Логотип АстронЭнерго

Опоры АПЭ 1394.0 серия 5.908-1

Опоры АПЭ 1394.0 серия 5.908-1

Ниже представлены технические характеристики и параметры для серии Опоры АПЭ 1394.0 серия 5.908-1 .

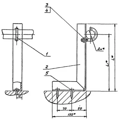
Опоры АПЭ 1394.0 СБ  серия 5.908-1 для крепления труб в подполье Дн 18 - 48 мм

Серия 5.908-1 - это стандарт типовых узлов крепления трубопроводов автоматического пожаротушения, рассчитанные на одновременное действие вертикальных и горизонтальных нагрузок.

Опоры АПЭ 1394.0 СБ применяются для крепления трубопроводов установок автоматического пожаротушения (АУПТ) в подполье.

Стандартно  опоры АПЭ серия 5.908-1 изготавливаются из марок стали сталь 3, 20, 09Г2С. Стандартное покрытие – транспортировочный грунт ГФ-021.

Опоры для крепления труб в подполье АПЭ 1394.0 СБ изготавливаются в соответствии с чертежами типовых конструкций серии 5.908-1.

1769879261289-638191466-opora_ape_1394.0_sb_fill_250x309                     1769879283525-408057396-opora_ape_1394.0_sb_razmery_fill_400x402

Смотрите также