Логотип АстронЭнерго

Подвески АПЭ 1400.0 серия 5.908-1

Подвески АПЭ 1400.0 серия 5.908-1

Ниже представлены технические характеристики и параметры для серии Подвески АПЭ 1400.0 серия 5.908-1 .

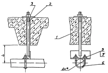
Подвески АПЭ 1400.0 СБ серия 5.908-1 для крепления трубы к железобетонным плитам перекрытия Дн 108 - 219 мм

Серия 5.908-1 - это стандарт типовых узлов крепления трубопроводов автоматического пожаротушения, рассчитанные на одновременное действие вертикальных и горизонтальных нагрузок.

Подвески АПЭ 1400.0 СБ применяются для крепления к железобетонным плитам перекрытия трубопроводов установок автоматического пожаротушения (АУПТ).

Стандартно  опоры АПЭ серия 5.908-1 изготавливаются из марок стали сталь 3, 20, 09Г2С. Стандартное покрытие – транспортировочный грунт ГФ-021.

Подвески для крепления труб к плитам перекрытия АПЭ 1400.0 СБ изготавливаются в соответствии с чертежами типовых конструкций серии 5.908-1.

    1769913132234-222447746-podveska_ape_1400.0_sb_fill_180x308                             1769913156443-724818221-podveska_ape_1400.0_sb_razmery_fill_450x307

Смотрите также