Логотип АстронЭнерго

Опоры АПЭ 1381.0 серия 5.908-1

Опоры АПЭ 1381.0 серия 5.908-1

Ниже представлены технические характеристики и параметры для серии Опоры АПЭ 1381.0 серия 5.908-1 .

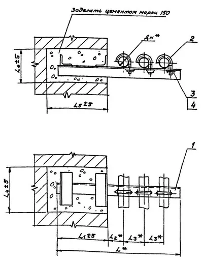
Опоры АПЭ 1381.0 серия 5.908-1 для крепления трех труб к кирпичной стене Дн 18 - 89 мм

Серия 5.908-1 - это стандарт типовых узлов крепления трубопроводов автоматического пожаротушения, рассчитанные на одновременное действие вертикальных и горизонтальных нагрузок.

Опоры АПЭ 1381.0 СБ применяются для крепления к кирпичным стенам трех трубопроводов установок автоматического пожаротушения (АУПТ).

Стандартно  опоры АПЭ серия 5.908-1 изготавливаются из марок стали сталь 3, 20, 09Г2С. Стандартное покрытие – транспортировочный грунт ГФ-021.

Опоры для крепления труб к кирпичной стене АПЭ 1381.0 СБ изготавливаются в соответствии с чертежами типовых конструкций серии 5.908-1.

1769845548021-786708635-opora_ape_1381.0_sb_fill_281x200                                 1769845560614-901533035-opora_ape_1381.0_sb_razmery_fill_400x511

 

Обозначение Наружный диаметр трубопровода Дн, мм Теоритическая масса Расстояние от оси трубопровода до стены L2, мм Расстояние между осями трубопроводов L3, мм Длина опоры L, мм Глубина заделки опоры L1, мм
АПЭ 1381.0 18...30 2.20 кг. 60 75 430 150 ±5
АПЭ 1381.0-01 32...49 3.20 кг. 70 90 530 200 ±5
АПЭ 1381.0-02 50...65 5.60 кг. 105 125 700 250 ±5
АПЭ 1381.0-03 70...89 9.60 кг. 125 145 765 250 ±5

 

 

Смотрите также