Логотип АстронЭнерго

Опоры А14Б 579.000 серия 5.900-7 выпуск 4

Опоры  А14Б 579.000 серия 5.900-7 выпуск 4

Ниже представлены технические характеристики и параметры для серии Опоры А14Б 579.000 серия 5.900-7 выпуск 4 .

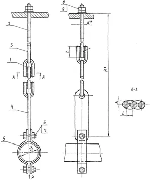
Опоры подвесные А14Б 579.000 серия 5.900-7 выпуск 4 с одной тягой, регулируемой гайкой, для горизонтальных трубопроводов Дн 57 - 273 мм

Подвесные опоры А14Б 579 предназначены для закрепления горизонтальных трубопроводов диаметром от 57 мм до 273 мм. Данные подвески закрепляются на несущей конструкции и регулируются при помощи гайки, накручиваемой на верхнюю тягу.

Условный диаметр прокладываемых трубопроводов Ду 50 – 250 мм.

Опоры подвесные А14Б 579.000 СБ изготавливаются в соответствии с чертежами серии 5.900-7 выпуск 4.

Стандартно  опоры А14Б 579.000 изготавливаются из марки стали Ст.3,20,09Г2С.
Стандартное покрытие — транспортировочный грунт ГФ-021.

1769608102684-350527203-podveska_a14b_579_fill_350x350   1769608113714-952391017-podveska_a14b_579_razmery_fill_300x355

Смотрите также