Опоры А14Б 566.000 серия 5.900-7 выпуск 4
Ниже представлены технические характеристики и параметры для серии Опоры А14Б 566.000 серия 5.900-7 выпуск 4.
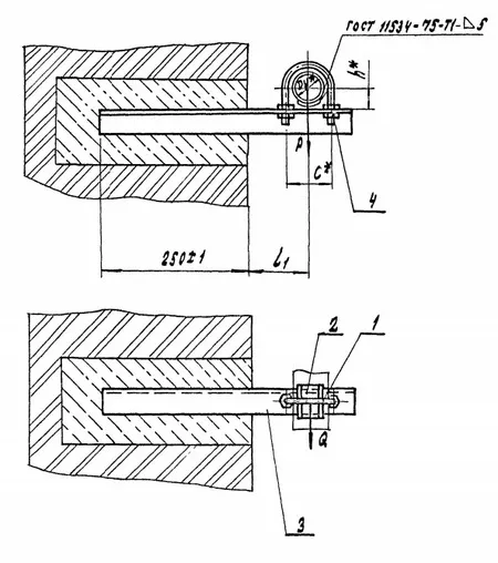
Опоры А14Б 566.000 серия 5.900-7 выпуск 4 подвижные хомутовые с креплением к стенам, перекрытиям и к полу Ду 50 - 100 мм
Опорные конструкции по серии 5.900-7 выпуск 4 разработаны для установки на стены, перекрытия и полы. Крепление происходит с помощью заделки металлических кронштейнов в кирпичные стены. Трубопроводы крепятся к перекрытиям с помощью подвески или посредством приварки к закладным деталям, находящимся в стыках между плитами.
Опоры А14Б 566.000 применяются для крепления к стенам, перекрытиям или и к полу трубопроводов, транспортирующих рабучую среду с температурой от 0 до +440 °C с максимальным давлением до 1,6 МПа (16 кгс/см2). Опоры подвижные А14Б 566.000 состоят из хомута и равнополочного уголка и предназначены для компенсации сдвига горизонтальных и вертикальных нагрузок трубопровода.
Стандартно подвижные двухрядные опоры А14Б 566.000 изготавливаются из марки стали Ст.3, 20,09Г2С.
Стандартное покрытие — транспортировочный грунт ГФ-021.
Опоры подвижные А14Б 566.000 СБ изготавливаются в соответствии с чертежами серии 5.900-7 выпуск 4.
![]()