Логотип АстронЭнерго

Опоры А14Б 553.000 серия 5.900-7 выпуск 3

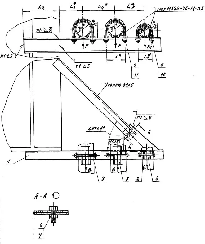
Опоры А14Б 553.000  серия 5.900-7 выпуск 3

Ниже представлены технические характеристики и параметры для серии Опоры А14Б 553.000 серия 5.900-7 выпуск 3 .

Опоры А14Б 553.000  серия 5.900-7 выпуск 3 подвижные хомутовые трехрядные с креплением к металлической колонне, для труб с разными диаметрами Ду 80 - 200 мм, Ду1 50 - 100 мм.

Опоры А14Б 553.000 применяются для крепления к металлическим колоннам трубопроводов, транспортирующих воду и пар с температурой до +150°С, либо холодоноситель с температурой от -15°С до +15°С с максимальным давлением до 1,6 МПа (16 кгс/см2).

Стандартно подвижные двухрядные опоры А14Б 548.000 изготавливаются из марки стали Ст.3,09Г2С, 20.
Стандартное покрытие — транспортировочный грунт ГФ-021.

1768401991506-950067426-opora_a14b_553_razmery

Смотрите также