Логотип АстронЭнерго

Опоры ТС-628.00.00 серия 5.903-13 выпуск 8-95 катковые двухъярусные

Опоры ТС-628.00.00 серия 5.903-13 выпуск 8-95 катковые двухъярусные

Ниже представлены технические характеристики и параметры для серии Опоры ТС-628.00.00 серия 5.903-13 выпуск 8-95 катковые двухъярусные .

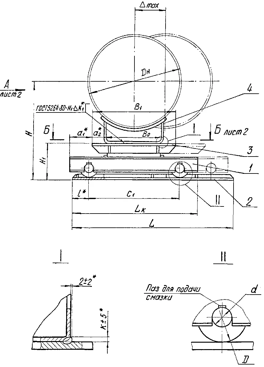
Опоры ТС-628.00.00  серия 5.903-13 выпуск 8-95 катковые двухъярусные Дн 194 - 1420 мм.

Опоры катковые двухъярусные ТС-628.00.00 устанавливается между опорными плитами, а к верхней плите приваривается корпус опоры и предназначены для трубопроводов с рабочим давлением Pу до 4,0 МПа и рабочей температурой tраб до +425 °С. 

Двухъярусные катковые опоры для трубопроводов диаметром от 194 до 1420 мм. Изготавливаются по чертежу ТС-628.00.000СБ серии 5.903-13 вып. 8-95 из углеродистой стали 3. Возможно изготовление из стали 20, 09Г2С.

 Опора ТС-628 катковая двухъярусная состоит из: Плита опорная — 2 шт. Каретка катковая — 1 шт. Корпус — 1 шт.

1768483230997-630427621-opora_ts_628_razmery1768483254584-666947084-opora_ts_628_razmery_2_fill_500x275

Смотрите также