Логотип АстронЭнерго

Опоры АПЭ 1395.0 серия 5.908-1

Опоры АПЭ 1395.0 серия 5.908-1

Ниже представлены технические характеристики и параметры для серии Опоры АПЭ 1395.0 серия 5.908-1.

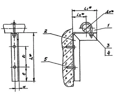
Опоры АПЭ 1395.0 СБ  серия 5.908-1 для крепления труб к железобетонной стене на дюбель-гвоздях Дн 18 - 48 мм

Серия 5.908-1 - это стандарт типовых узлов крепления трубопроводов автоматического пожаротушения, рассчитанные на одновременное действие вертикальных и горизонтальных нагрузок.

Опоры АПЭ 1395.0 СБ применяются для крепления к железобетонной стене трубопроводов установок автоматического пожаротушения (АУПТ).

Стандартно  опоры АПЭ серия 5.908-1 изготавливаются из марок стали сталь 3, 20, 09Г2С. Стандартное покрытие – транспортировочный грунт ГФ-021.

Опоры для крепления труб к железобетонной стене АПЭ 1395.0 СБ изготавливаются в соответствии с чертежами типовых конструкций серии 5.908-1.

1769910827939-407853711-opora_ape_1395.0_sb_fill_200x346                               1769910850166-799322978-opora_ape_1395.0_sb_razmery_fill_400x325

 

Смотрите также