Логотип АстронЭнерго

Опоры А14Б 567.000 сериz 5.900-7 выпуск 4

Опоры А14Б 567.000 сериz 5.900-7 выпуск 4

Ниже представлены технические характеристики и параметры для серии Опоры А14Б 567.000 сериz 5.900-7 выпуск 4.

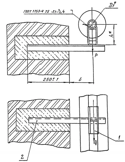
Опоры А14Б 567.000 сериz 5.900-7 выпуск 4 подвижные корпусные приварные с креплением к стенам, перекрытиям и к полу Ду 50 - 100 мм

Опорные конструкции по серии 5.900-7 выпуск 4 разработаны для установки на стены, перекрытия и полы. Крепление происходит с помощью заделки металлических кронштейнов в кирпичные стены. Трубопроводы крепятся к перекрытиям с помощью подвески или посредством приварки к закладным деталям, находящимся в стыках между плитами. 

Опоры А14Б 567.000 применяются для крепления к стенам, перекрытиям или и к полу трубопроводов, транспортирующих рабучую среду с температурой от 0 до +440 °C с максимальным давлением до 1,6 МПа (16 кгс/см2). Опоры подвижные А14Б 567.000 предназначены для компенсации сдвига горизонтальных и вертикальных нагрузок трубопровода.

Стандартно подвижные двухрядные опоры А14Б 548.000 изготавливаются из марки стали Ст.3,20,09Г2С.
Стандартное покрытие — транспортировочный грунт ГФ-021.

Опоры подвижные А14Б 567.000 СБ изготавливаются в соответствии с чертежами серии 5.900-7 выпуск 4.

1769357451865-613121696-opora_a14b_567_fill_230x192  1769357470063-777755321-opora_a14b_567_razmery_fill_400x518

 

Смотрите также