Логотип АстронЭнерго

Опоры А14Б 565.000 серия 5.900-7 выпуск 3

Опоры А14Б 565.000 серия 5.900-7 выпуск 3

Ниже представлены технические характеристики и параметры для серии Опоры А14Б 565.000 серия 5.900-7 выпуск 3 .

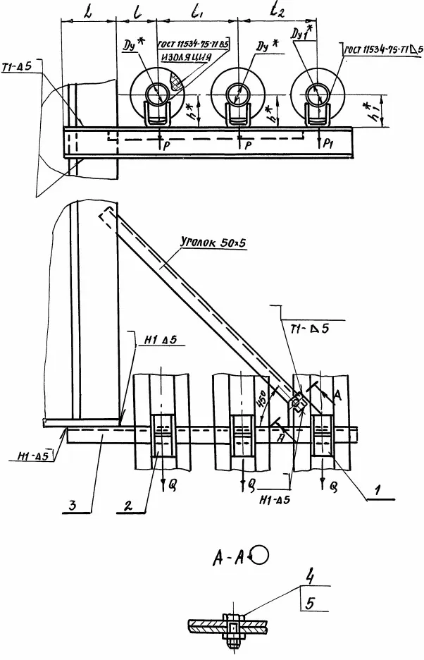
Опоры А14Б 565.000  серия 5.900-7 выпуск 3 подвижные корпусные приварные трехрядные с креплением к металлической колонне, для труб с разными диаметрами Ду 65 - 150 мм, Ду1 50 - 100 мм.

Опора А14Б 565.000 СБ Опора подвижная трехрядная.

Подвижные трехрядные опоры А14Б 565.000 СБ изготавливаются в соответствии с чертежами серии 5.900-7 выпуск 3.

Опоры А14Б 565.000 применяются для крепления к металлическим колоннам трубопроводов, транспортирующих воду и пар с температурой до +150°С, либо холодоноситель с температурой от -15°С до +15°С с максимальным давлением до 1,6 МПа (16 кгс/см2).

Стандартно подвижные двухрядные опоры А14Б 548.000 изготавливаются из марки стали Ст.3,20,09Г2С.
Стандартное покрытие — транспортировочный грунт ГФ-021.

Подвижные трехрядные опоры А14Б 565.000 СБ изготавливаются в соответствии с чертежами серии 5.900-7 выпуск 3.

1768804994151-735127616-opora_a14b_565_razmery

Смотрите также