Логотип АстронЭнерго

Неподвижные опоры "Энергия-Термо" для систем отопления DN15-40

Неподвижные опоры "Энергия-Термо" для систем отопления DN15-40

Ниже представлены технические характеристики и параметры для серии Неподвижные опоры "Энергия-Термо" для систем отопления DN15-40.

Неподвижные опоры "Энергия-Термо" для систем отопления DN15-40

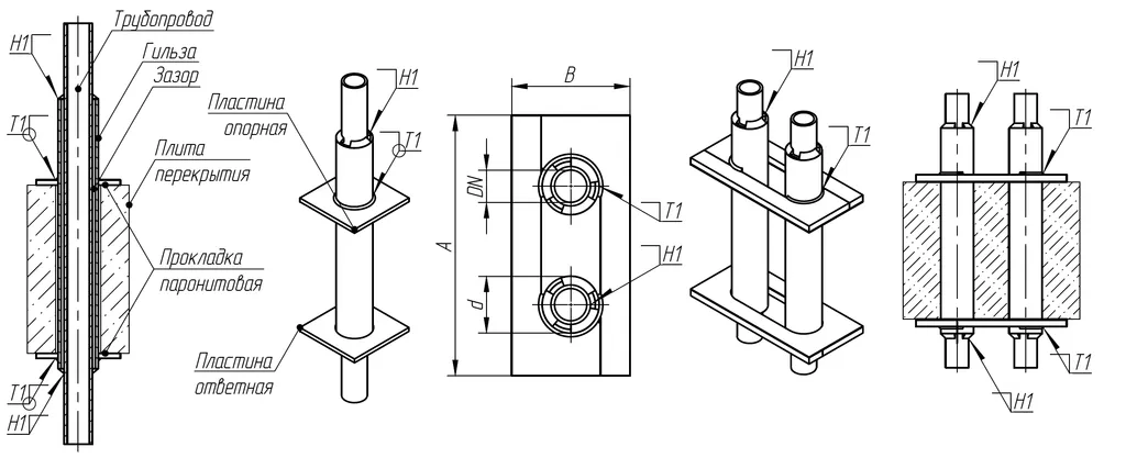
Неподвижные опоры «Энергия-Термо» предназначены для трубопроводов внутренних инженерных систем отопления и теплоснабжения. Неподвижные опоры выдерживают нагрузку от распорного усилия сильфонного компенсатора, вес трубопровода с теплоносителем, вес изоляции и трубопроводной арматуры.

1769775799093-405517116-c2bd56807f4666cb7e3207073048c374

Схема устройства и установки неподвижных опор «Энергия-Термо» DN15…DN40

1769775876843-95195335-______________1

Таблица 1. Основные технические параметры неподвижной опоры «Энергия-Термо» DN15…DN40

1769775974558-627743244-______________1

Таблица 2. Комплектация неподвижных опор «Энергия-Термо» DN15…DN40

1769777283893-364655597-______________2

Смотрите также