Компенсатор "Протон" сильфонный осевой
Компенсатор "Протон" сильфонный осевой
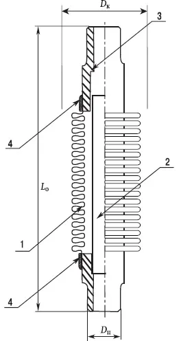
Конструкция компенсатора "Протон"
![]()
1. многослойный сильфон
Это «гармошка» из нескольких слоев нержавеющей стали. Сильфон приварен к патрубку не напрямую, а через промежуточное кольцо из нержавеющей стали. Сильфон способен удлиняться, сжиматься, изгибаться, он хорошо "держит" давление.
Осевой сильфонный компенсатор в процессе эксплуатации многократно сжимается и растягивается (в пределах осевого хода). При этом недопустимо изгибать сильфон любого осевого сильфонного компенсатора. Стабилизатором сильфона служит внутренняя направляющая гильза, которая защищает сильфон компенсаторов "Протон" от изгибания. Также для обеспечения соосности патрубков и защиты сильфона от изгибания служат направляющие опоры, их необходимо устанавливать на трубопроводе согласно нормативам
2. Стабилизатор (внутренняя гильза)
Отрезок трубы из нержавеющей стали. Она приварена к одному из патрубков и может свободно двигаться во втором. Это позволяет "гармошке" сильфона сжиматься и разжиматься и при этом препятствует ее нежелательному изгибу. Таким образом, внутренняя гильза наряду с направляющими опорами помогает сохранять соосность патрубков компенсатора и устойчивость гибкого сильфона. Также она направляет поток воды.
3. патрубки
Два отрезка трубы из высококачественной углеродистой (модель «Протон-Термо») или нержавеющей (модель «Протон-Аква») стали. Служат для присоединения компенсатора к стояку отопления или водоснабжения соответственно.
4. переходное кольцо
Многослойный сильфон из нержавеющей стали необходимо приваривать к патрубкам из "черной" стали не напрямую, а через переходное кольцо (двойное либо одинарное) из нержавеющей стали. Если тонкостенный сильфон из нержавеющей стали приварить к патрубку из "черной" стали без переходного кольца, напрямую, то в месте приварки произойдет разделение слоев сильфона. Поэтому кольцо из нержавеющей стали, как правило, является признаком того, что сильфон компенсатора многослойный
Только в полнопроходных компенсаторах при движении теплоносителя не возникают дополнительное гидравлическое потери Компенсаторы для систем отопления «Протон» полнопроходные. Диаметр их внутренней гильзы (2) равен внутреннему диаметру патрубка (3).
Устройство и технические характеристики компенсаторов "ПРОТОН"
| DN | Обозначение: “Протон-ТЕРМО” для отопления; “Протон-АКВА” для водопровода | Осевой ход компенсатора (компенсирующая способность) сжатие/удлинение | Полный осевой ход, мм. | PN | Общая длина, Lo, мм. ТЕРМО/ АКВА | Диаметр компе-ра Dr, мм. | Эфф-ая площадь сильфона, Sэфф, см2 | Жестксть осевого хода, kH/м |
|---|---|---|---|---|---|---|---|---|
| 15 | 16.0015.32/10.1 | +32 мм / -10 мм | 42 | 16 | 250/264 | 39,8 | 9 | 22 |
| 15 | 16.0015.40/20.1 | +40 мм / -20 мм | 60 | 16 | 323/333 | 39,8 | 9 | 22 |
| 20 | 16.0020.32/10.1 | +32 мм / -10 мм | 42 | 16 | 250/264 | 39,8 | 9 | 23 |
| 20 | 16.0020.40/20.1 | +40 мм / -20 мм | 60 | 16 | 323/333 | 39,8 | 9 | 23 |
| 25 | 16.0025.32/10.1 | +32 мм / -10 мм | 42 | 16 | 250/266 | 45,4 | 12 | 23 |
| 25 | 16.0025.40/20.1 | +40 мм / -20 мм | 60 | 16 | 318/328 | 45,4 | 12 | 23 |
| 32 | 16.0032.32/10.1 | +32 мм / -10 мм | 42 | 16 | 265/293 | 53,4 | 18 | 32 |
| 32 | 16.0032.44/22.1 | +44 мм / -22 мм | 66 | 16 | 363/373 | 53,4 | 18 | 32 |
| 40 | 16.0040.32/10.1 | +32 мм / -10 мм | 42 | 16 | 265/284 | 63,2 | 25 | 33 |
| 40 | 16.0040.44/22.1 | +44 мм / -22 мм | 66 | 16 | 341/351 | 63,2 | 25 | 33 |
| 50 | 16.0050.32/10.1 | +32 мм / -10 мм | 42 | 16 | 290/321 | 79,7 | 48 | 37 |
| 50 | 16.0050.47/23.1 | +47 мм / -23 мм | 70 | 16 | 373/383 | 79,7 | 48 | 37 |
| 65 | 16.0065.32/10.1 | +32 мм / -10 мм | 42 | 16 | 290/300 | 95,6 | 57 | 43 |
| 65 | 16.0065.50/25.1 | +50 мм / -25 мм | 75 | 16 | 400/410 | 95,6 | 57 | 43 |
| 80 | 16.0080.32/10.1 | +32 мм / -10 мм | 42 | 16 | 295/300 | 108,4 | 76 | 47 |
| 80 | 16.0080.50/25.1 | +50 мм / -25 мм | 75 | 16 | 397/407 | 108,4 | 76 | 47 |
| 100 | 16.0100.33/17.1 | +32 мм / -17 мм | 50 | 16 | 300/310 | 136,8 | 122 | 65 |
| 100 | 16.0100.54/26.1 | +54 мм / -26 мм | 80 | 16 | 411/421 | 136,8 | 122 | 65 |
| 125 | 16.0125.33/17.1 | +32 мм / -17 мм | 50 | 16 | 310/320 | 171,4 | 188 | 128 |
| 125 | 16.0125.54/26.1 | +54 мм / -26 мм | 80 | 16 | 435/445 | 171,4 | 188 | 128 |
| 150 | 16.0150.33/17.1 | +32 мм / -17 мм | 50 | 16 | 340/350 | 200,4 | 265 | 129 |
| 150 | 16.0150.54/26.1 | +54 мм / -26 мм | 80 | 16 | 428/438 | 200,4 | 265 | 129 |
| 200 | 16.0200.33/17.1 | +32 мм / -17 мм | 50 | 16 | 350/360 | 249,7 | 435 | 162 |
| 200 | 16.0200.54/26.1 | +54 мм / -26 мм | 80 | 16 | 460/470 | 249,7 | 435 | 162 |
В этом разделе пока нет товаров.