Логотип АстронЭнерго

Компенсатор «Энергия-Аква» сильфонный

Компенсатор «Энергия-Аква» сильфонный

1769829578306-398114360-tjp9zugn53vmkvnm3djm5rw0ct3fjv33

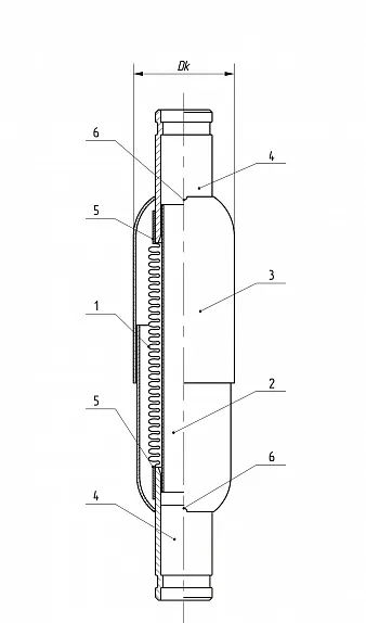
1. многослойный сильфон

Гибкая цилиндрическая «гармошка» из нескольких слоев тонкостенной нержавеющей стали. Приваривается к патрубкам через переходное кольцо из нержавеющей стали.

2. Внутренняя гильза (стабилизатор сильфона)

Отрезок трубы из нержавеющей стали, который приварен к одному из патрубков и может свободно перемещаться внутри второго. Применяется технологии "суперстабилизация" и "энергоэффективность".

3. Наружный декоративно-защитный кожух

Состоит из двух гладких полусфер из нержавеющей стали. Надежно защищает тонкостенный сильфон от механических повреждений, воздействия сварки,и т.д. Может быть использован при эксплуатации в условиях повышенной влажности. Используются технологии "вентилируемый сильфон" и "антикоррозия".

4. патрубки

Два отрезка трубы из высококачественной нержавеющей стали. Служат для присоединения компенсатора к стояку водоснабжения бессварным способом (резьба, грувлок, фланец).

5. переходное кольцо

Переходное кольцо из нержавеющей стали служит для надежной приварки тонкостенного сильфона из нержавеющей стали к патрубку из углеродистой стали.

6. отверстие для слива конденсата

Технологические отверстия для слива конденсата расположены в местах присоединения каждого из двух патрубков к защитному кожуху.

Технические характеристики компенсаторов "Энергия-Аква"

Актуальны для DN15-200 (поставляем DN15-500). Максимальная температура воды: +75°C. Рабочее давление: PN16

DN Обозначение Осевой ход компенсатора
(компенсирующая способность)
сжатие/удлинение
Полный
осевой ход,
мм
PN Диаметр
компенсатора
Dk, мм
Эффективная
площадь сильфона
Sэфф, см2
Жёсткость
осевого хода,
kH/м
15 16.015.32/10.2 +32 мм / -10 мм 42 16 50 9 12
15 16.015.42/20.2 +42 мм / -20 мм 62 16 50 9 12
20 16.020.32/10.2 +32 мм / -10 мм 42 16 50 9 12
20 16.020.42/20.2 +42 мм / -20 мм 62 16 50 9 12
25 16.025.32/10.2 +32 мм / -10 мм 42 16 55 12 13
25 16.025.42/20.2 +42 мм / -20 мм 62 16 55 12 13
32 16.032.32/10.2 +32 мм / -10 мм 42 16 65 18 26
32 16.032.42/20.2 +42 мм / -20 мм 62 16 65 18 26
40 16.040.32/10.2 +32 мм / -10 мм 42 16 77 25 25
40 16.040.44/22.2 +44 мм / -22 мм 66 16 77 25 25
50 16.050.32/10.2 +32 мм / -10 мм 42 16 91 48 29
50 16.050.47/23.2 +47 мм / -23 мм 70 16 91 48 29
65 16.065.32/10.2 +32 мм / -10 мм 42 16 107 57 34
65 16.065.50/25.2 +50 мм / -25 мм 75 16 107 57 34
80 16.080.32/10.2 +32 мм / -10 мм 42 16 119 76 40
80 16.080.50/25.2 +50 мм / - 25 мм 75 16 119 76 40
100 16.100.33/17.2 +33 мм / -17 мм 50 16 149 122 54
100 16.100.54/26.2 +54 мм / -26 мм 80 16 149 122 54
125 16.125.33/17.2 +33 мм / -17 мм 50 16 187 188 106
125 16.125.54/26.2 +54 мм / -26 мм 80 16 187 188 106
150 16.150.33/17.2 +33 мм / -17 мм 50 16 215 264 104
150 16.150.54/26.2 +54 мм / -26 мм 80 16 215 264 104
200 16.200.33/17.2 +33 мм / -17 мм 50 16 267 433 134
200 16.200.54/26.2 +54 мм / -26 мм 80 16 267 433 134

 

В этом разделе пока нет товаров.